
Galvaniziran T-kos, enojni odvod z moško spojko, tip F
Spojka za cisterno gnojevke, spojka za črpanje, spojka za cevi.
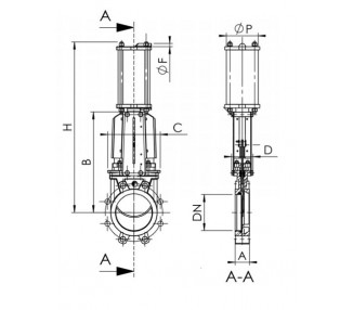
Nožasti zaporni ventil je še posebej primeren za najtežje aplikacije.
Področje uporabe: omrežja za čiščenje vode, industrija celuloze in papirja, kemični obrati,
vinarstvo, cementarna, pnevmatski transport, skladiščenje.
Tekočine: voda, odplake, celuloza, pastozni izdelki, praškaste, zrnate, vlaknasta, abrazivna in kristalizirajoča.
Zaupanja vredni
Zanesljiva dostava
Razpon: od DN50 do DN300.
- Vklop/izklop zapornega ventila ali nastavitev z naraščajočim steblom.
- Oblikovano monoblok ohišje
- Enosmerna vodotesnost: smer pretoka, označena s puščico na telesu.
- Namestitev med prirobnicami ISO PN10.
- majhno zadrževalno območje.
- Vrata s poševnim rezalnim robom, usmerjenimi v ohišje z majhnim zrakom.
- Zagotovljeno zapiranje, brez nevarnosti blokade.
- Standardno polirana vrata, mehak stik s tesnili.
- Zelo trpežna prirobnica iz duktilnega železa preprečuje nevarnost zlomov.
- Delovna sila se zmanjša zaradi elastičnosti tesnil.
- Vnaprej oblikovane nosilne plošče iz profilirane pločevine od DN50 do DN300 za montažo dodatne opreme ali kompleta.
- Popoln pretok, ko je popolnoma odprt, kar zagotavlja visok pretok z nizko izgubo tlaka.
- Možna regulacija pretoka za pastozne ali abrazivne tekočine z namestitvijo deflektorja
16 drugi izdelki v isti kategoriji:
Spojka za cisterno gnojevke, spojka za črpanje, spojka za cevi.
Razpon: od DN50 do DN1200. - Vklop/izklop zapornega ventila za nož ali nastavitev z naraščajočim steblom. - Oblikovano monoblok ohišje - Enosmerna vodotesnost: smer pretoka, označena s puščico na telesu. - Namestitev med prirobnicami ISO PN10. - majhno zadrževalno območje. - Vrata s poševnim rezalnim robom, usmerjenimi v ohišje z majhnim zrakom. - Zagotovljeno zapiranje, brez nevarnosti...
Zaradi materialov, iz katerih so izdelani ventili MULTI, so deli veliko lažji od tradicionalnih ventilov ter hitri in enostavni za rokovanje in namestitev. So zelo odporni na korozijo, UV svetlobo, toplotne udarce in mehanske obremenitve. Telo ventila MULTI je izdelano iz poliestra izoftalne kisline, ojačanega s steklenimi vlakni, in prevlečeno z gelom iz izoftalne kisline. Os je ERTACETAL...
Funkcija VKLOP/IZKLOP ali regulacija. Montaža z navojno ploščo ISO PN10. Enosmerna tesnost, smerna oznaka zaradi puščice na telesu. Majhno zadrževalno območje: vrata so vodena v telesu in imajo malo prostora. Sklop žleze: tesnilo in O-obroč (iz istega materiala kot sedežni spoj) za zagotovitev elastičnosti in zmanjšanje obratovalnega navora. Majhna izguba glave. Možnost regulacije gostih...
Spojka za cisterno gnojevke, spojka za črpanje, spojka za cevi.
Spojka za cisterno gnojevke, spojka za črpanje, spojka za cevi.
Zapornica za nadzor nad pretokom vode. Zapornice za vodo za postavitev na kanale, reke, cevi, črpališča, čistilne naprave ter različne tehnološke objekte. Namen: zapiranje, reguliranje pretoka umazane ali pitne vode. Izdelane iz nerjavnega materiala. Izdelava po standardu EN10088-1. Drsni elementi izdelani po standardu EN 12163 Zaradi lastnosti, obstojnosti se jih uporablja v čistilnih...
Spojka za cisterno gnojevke, spojka za črpanje, spojka za cevi.
Spojka za cisterno gnojevke, spojka za črpanje, spojka za cevi.
Spojka za cisterno gnojevke, spojka za črpanje, spojka za cevi.
Spojka za cisterno gnojevke, spojka za črpanje, spojka za cevi.
Razpon: od DN50 do DN600. - Vklop/izklop zapornega ventila za nož ali nastavitev z naraščajočim steblom. - Oblikovano monoblok ohišje - Enosmerna vodotesnost: smer pretoka, označena s puščico na telesu. - Namestitev med prirobnicami ISO PN10. - majhno zadrževalno območje. - Vrata s poševnim rezalnim robom, usmerjenimi v ohišje z majhnim zrakom. - Zagotovljeno zapiranje, brez nevarnosti...
Spojka za cisterno gnojevke, spojka za črpanje, spojka za cevi.
Spojka za cisterno gnojevke, spojka za črpanje, spojka za cevi.
error Vašega mnenja ni mogoče poslati